Lexus RX (RX 350L, RX450h) 2016-2025 Repair Manual: Short in Rear P/T Squib (LH) Circuit (B1925-B1928)

DESCRIPTION

The rear pretensioner squib LH circuit consists of the airbag sensor assembly and rear No. 1 seat outer belt assembly LH.

The airbag sensor assembly uses this circuit to deploy the pretensioner when deployment conditions are met.

These DTCs are stored when a malfunction is detected in the rear pretensioner squib LH circuit.

DTC No.

Detection Item

DTC Detection Condition

Trouble Area

Warning Indicate

Test Mode / Check Mode

B1925

Short in Rear P/T Squib (LH) Circuit

  • The airbag sensor assembly detects a line short in the rear pretensioner squib LH circuit during the primary check.
  • Rear pretensioner squib LH malfunction
  • Airbag sensor assembly malfunction
  • No. 2 floor wire
  • Rear pretensioner squib LH (Rear No. 1 seat outer belt assembly LH)
  • Airbag sensor assembly

Comes on

Applies to check mode

B1926

Open in Rear P/T Squib (LH) Circuit

  • The airbag sensor assembly detects an open in the rear pretensioner squib LH circuit.
  • Rear pretensioner squib LH malfunction
  • Airbag sensor assembly malfunction
  • No. 2 floor wire
  • Rear pretensioner squib LH (Rear No. 1 seat outer belt assembly LH)
  • Airbag sensor assembly

Comes on

Applies to check mode

B1927

Short in Rear P/T Squib (LH) Circuit (to Ground)

  • The airbag sensor assembly detects a short to ground in the rear pretensioner squib LH circuit.
  • Rear pretensioner squib LH malfunction
  • Airbag sensor assembly malfunction
  • No. 2 floor wire
  • Rear pretensioner squib LH (Rear No. 1 seat outer belt assembly LH)
  • Airbag sensor assembly

Comes on

Applies to check mode

B1928

Short in Rear P/T Squib (LH) Circuit (to +B)

  • The airbag sensor assembly detects a short to B+ in the rear pretensioner squib LH circuit.
  • Rear pretensioner squib LH malfunction
  • Airbag sensor assembly malfunction
  • No. 2 floor wire
  • Rear pretensioner squib LH (Rear No. 1 seat outer belt assembly LH)
  • Airbag sensor assembly

Comes on

Applies to check mode

WIRING DIAGRAM

CAUTION / NOTICE / HINT

NOTICE:

After turning the engine switch off, waiting time may be required before disconnecting the cable from the negative (-) battery terminal. Therefore, make sure to read the disconnecting the cable from the negative (-) battery terminal notices before proceeding with work.

Click here

HINT:

  • Perform the simulation method by selecting check mode (Signal Check) using the Techstream.

    Click here

  • After selecting check mode (Signal Check), perform the simulation method by wiggling each connector of the airbag system or driving the vehicle on a city road or rough road.

    Click here

PROCEDURE

1.

CHECK CONNECTORS

(a) Turn the engine switch off.

*1

Rear No. 1 Seat Outer Belt Assembly LH

*2

Airbag Sensor Assembly

*3

No. 2 Floor Wire

(b) Disconnect the cable from the negative (-) battery terminal.

CAUTION:

Wait at least 90 seconds after disconnecting the cable from the negative (-) battery terminal to disable the SRS system.

(c) Check that the connectors are properly connected to the rear No. 1 seat outer belt assembly LH and airbag sensor assembly.

OK:

The connectors are properly connected.

HINT:

If the connectors are not properly connected, reconnect the connectors and proceed to the next inspection.

(d) Disconnect the connectors from the rear No. 1 seat outer belt assembly LH and airbag sensor assembly.

(e) Check that the terminals of the connectors are not deformed or damaged.

OK:

The terminals are not deformed or damaged.

(f) Check that the No. 2 floor wire connector (on the rear No. 1 seat outer belt assembly LH side) is not loose, deformed or damaged.

OK:

The airbag connector locking button is not disengaged, and the claw of the lock is not deformed or damaged.

(g) Check that the short springs of the activation prevention mechanism of the No. 2 floor wire connector are not deformed or damaged.

OK:

The short springs are not deformed or damaged.

NG

REPLACE NO. 2 FLOOR WIRE

OK

2.

CHECK REAR NO. 1 SEAT OUTER BELT ASSEMBLY LH

(a) Connect the connector to the airbag sensor assembly.

*1

Rear No. 1 Seat Outer Belt Assembly LH

*2

Airbag Sensor Assembly

*a

Front view of wire harness connector

(to Rear No. 1 Seat Outer Belt Assembly LH)

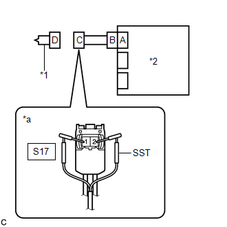
(b) Connect SST (resistance 2.1 Ω) to connector C.

CAUTION:

Never connect a tester to the rear No. 1 seat outer belt assembly LH for measurement, as this may lead to a serious injury due to pretensioner deployment.

NOTICE:

  • Do not forcibly insert SST into the terminals of the connector when connecting it.
  • Insert SST straight into the terminals of the connector.

SST: 09843-18061

(c) Connect the cable to the negative (-) battery terminal.

(d) Turn the engine switch on (IG), and wait for at least 60 seconds.

(e) Clear the DTCs stored in memory.

Body Electrical > SRS Airbag > Clear DTCs

(f) Turn the engine switch off.

(g) Turn the engine switch on (IG), and wait for at least 60 seconds.

(h) Check for DTCs.

Body Electrical > SRS Airbag > Trouble Codes

OK:

DTC B1925, B1926, B1927 or B1928 is not output.

HINT:

Codes other than DTCs B1925, B1926, B1927 and B1928 may be output at this time, but they are not related to this check.

(i) Turn the engine switch off.

(j) Disconnect the cable from the negative (-) battery terminal.

CAUTION:

Wait at least 90 seconds after disconnecting the cable from the negative (-) battery terminal to disable the SRS system.

(k) Disconnect SST from connector C.

OK

REPLACE REAR NO. 1 SEAT OUTER BELT ASSEMBLY LH

NG

3.

CHECK NO. 2 FLOOR WIRE

(a) Disconnect the No. 2 floor wire from the airbag sensor assembly.

*1

Rear No. 1 Seat Outer Belt Assembly LH

*2

Airbag Sensor Assembly

*3

No. 2 Floor Wire

*a

Front view of wire harness connector

(to Rear No. 1 Seat Outer Belt Assembly LH)

(b) Check for a short to B+ in the circuit.

(1) Connect the cable to the negative (-) battery terminal.

(2) Turn the engine switch on (IG).

(3) Measure the voltage according to the value(s) in the table below.

Standard Voltage:

Tester Connection

Condition

Specified Condition

S17-1 (RL+) - Body ground

Engine switch on (IG)

Below 1 V

S17-2 (RL-) - Body ground

Engine switch on (IG)

Below 1 V

(4) Turn the engine switch off.

(5) Disconnect the cable from the negative (-) battery terminal.

CAUTION:

Wait at least 90 seconds after disconnecting the cable from the negative (-) battery terminal to disable the SRS system.

(c) Check for an open in the circuit.

(1) Measure the resistance according to the value(s) in the table below.

Standard Resistance:

Tester Connection

Condition

Specified Condition

S17-1 (RL+) - S17-2 (RL-)

Always

Below 1 Ω

(d) Check for a short to ground in the circuit.

(1) Measure the resistance according to the value(s) in the table below.

Standard Resistance:

Tester Connection

Condition

Specified Condition

S17-1 (RL+) - Body ground

Always

1 MΩ or higher

S17-2 (RL-) - Body ground

Always

1 MΩ or higher

(e) Check for a short in the circuit.

(1) Release the activation prevention mechanism built into connector B.

Click here

(2) Measure the resistance according to the value(s) in the table below.

Standard Resistance:

Tester Connection

Condition

Specified Condition

S17-1 (RL+) - S17-2 (RL-)

Always

1 MΩ or higher

(3) Restore the released activation prevention mechanism of connector B to the original condition.

NG

REPLACE NO. 2 FLOOR WIRE

OK

4.

CHECK DTC

(a) Connect the connectors to the rear No. 1 seat outer belt assembly LH and airbag sensor assembly.

*1

Rear No. 1 Seat Outer Belt Assembly LH

*2

Airbag Sensor Assembly

(b) Connect the cable to the negative (-) battery terminal.

(c) Turn the engine switch on (IG), and wait for at least 60 seconds.

(d) Clear the DTCs stored in memory.

Body Electrical > SRS Airbag > Clear DTCs

(e) Turn the engine switch off.

(f) Turn the engine switch on (IG), and wait for at least 60 seconds.

(g) Check for DTCs.

Body Electrical > SRS Airbag > Trouble Codes

OK:

DTC B1925, B1926, B1927 or B1928 is not output.

HINT:

Codes other than DTCs B1925, B1926, B1927 and B1928 may be output at this time, but they are not related to this check.

OK

USE SIMULATION METHOD TO CHECK

NG

REPLACE AIRBAG SENSOR ASSEMBLY

    Short in P/T Squib (LH) Circuit (B1905-B1908)
    DESCRIPTION The front pretensioner squib LH circuit consists of the airbag sensor assembly and front seat outer belt assembly LH. The airbag sensor assembly uses this circuit to deploy the pretensione ...

    Short in Selectable Force Limiter Squib RH Circuit (B1940-B1943)
    DESCRIPTION The selectable force limiter squib RH circuit consists of the airbag sensor assembly and front seat outer belt assembly RH. The airbag sensor assembly uses this circuit to deploy the selec ...

    Other materials:

    Lexus RX (RX 350L, RX450h) 2016-2025 Repair Manual > Rear Differential Carrier Assembly: Removal
    REMOVAL CAUTION / NOTICE / HINT The necessary procedures (adjustment, calibration, initialization, or registration) that must be performed after parts are removed and installed, or replaced during rear differential carrier assembly with differential support removal/installation are shown below. Nece ...

    Lexus RX (RX 350L, RX450h) 2016-2025 Repair Manual > Telephone And Gps Antenna (for Front Side): Removal
    REMOVAL CAUTION / NOTICE / HINT The necessary procedures (adjustment, calibration, initialization, or registration) that must be performed after parts are removed and installed, or replaced during telephone and GPS antenna assembly removal/installation are shown below. Necessary Procedures After Par ...

    Lexus RX (RX 350L, RX450h) 2016-{YEAR} Owners Manual

    Lexus RX (RX 350L, RX450h) 2016-{YEAR} Repair Manual

    © 2025 Copyright www.lexusrx.net
    0.0131