Lexus RX (RX 350L, RX450h) 2016-2026 Repair Manual: Differential Oil

Replacement

REPLACEMENT

CAUTION / NOTICE / HINT

HINT:

Stop the vehicle on a level surface.

PROCEDURE

1. DRAIN DIFFERENTIAL OIL

(a) Using a 10 mm hexagon wrench, remove the differential inspection plug and gasket.

(b) Using a 10 mm hexagon wrench, remove the rear differential drain plug and gasket to drain the differential oil.

NOTICE:

As the differential oil may be hot after driving, make sure that the differential is sufficiently cool before starting work.

(c) Using a 10 mm hexagon wrench, install a new gasket and the rear differential drain plug.

Torque:

39 N·m {398 kgf·cm, 29 ft·lbf}

2. ADD DIFFERENTIAL OIL

(a) Add differential oil.

Oil Type:

Toyota genuine differential gear oil LT 75W-85 GL-5 or equivalent

Standard Differential Oil Capacity:

0.45 to 0.55 liters (0.48 to 0.58 US qts., 0.40 to 0.48 Imp. qts.)

NOTICE:

  • Add the differential oil in small quantities every few minutes.
  • Too much or too little oil will lead to differential problems.

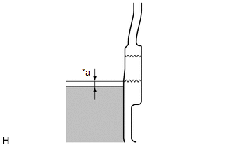
(b) Check that the oil level is between 0 to 5 mm (0 and 0.196 in.) from the bottom lip of the differential inspection plug opening.

*a

0 to 5 mm (0 to 0.196 in.)

(c) Inspect for oil leaks if the oil level is low.

(d) Using a 10 mm hexagon wrench, install a new gasket and the differential inspection plug.

Torque:

39 N·m {398 kgf·cm, 29 ft·lbf}

NOTICE:

After changing the oil, drive the vehicle and then check the oil level again.

3. INSPECT FOR DIFFERENTIAL OIL LEAK

    Replacement
    REPLACEMENT CAUTION / NOTICE / HINT The necessary procedures (adjustment, calibration, initialization, or registration) that must be performed after parts are removed and installed, or replaced during ...

    Differential System
    ...

    Other materials:

    Lexus RX (RX 350L, RX450h) 2016-2026 Repair Manual > Fuel Pressure Sensor: Inspection
    INSPECTION PROCEDURE 1. INSPECT FUEL DELIVERY PIPE SUB-ASSEMBLY (FUEL PRESSURE SENSOR) NOTICE: Do not remove the fuel pressure sensor from the fuel delivery pipe sub-assembly. If the fuel pressure sensor is removed, replace the fuel delivery pipe sub-assembly (fuel pressure sensor) with a new o ...

    Lexus RX (RX 350L, RX450h) 2016-2026 Repair Manual > Audio And Visual System (for 8 Inch Display): Sound Quality is Bad Only when CD is Played (Volume is Too Low)
    CAUTION / NOTICE / HINT NOTICE: Depending on the parts that are replaced during vehicle inspection or maintenance, performing initialization, registration or calibration may be needed. Refer to Precaution for Audio and Visual System. Click here PROCEDURE 1. REPLACE CD AND RECHECK (a) Repl ...

    Lexus RX (RX 350L, RX450h) 2016-{YEAR} Owners Manual

    Lexus RX (RX 350L, RX450h) 2016-{YEAR} Repair Manual

    © 2026 Copyright www.lexusrx.net
    0.0099