Lexus RX (RX 350L, RX450h) 2016-2026 Repair Manual: Replacement

REPLACEMENT

CAUTION / NOTICE / HINT

HINT:

  • Use the same procedure for bank 1 and bank 2.
  • The following procedure is for bank 2.

PROCEDURE

1. REPLACE INTAKE VALVE GUIDE BUSH

(a) Heat the cylinder head LH to between 80 and 100°C (176 and 212°F).

(b) Place the cylinder head LH on wooden blocks.

CAUTION:

Be sure to wear protective gloves.

(c) Using SST and a hammer, tap out the intake valve guide bush.

SST: 09201-10000

09201-01050

SST: 09950-70010

09951-07100

*a

Wooden Block

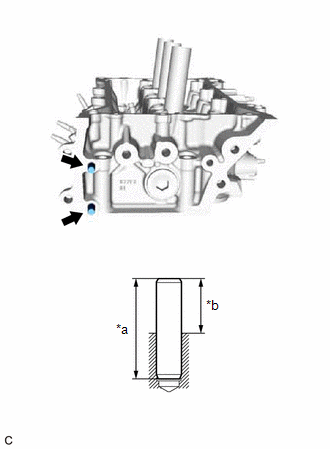
(d) Using a caliper gauge, measure the intake valve guide bush bore diameter of the cylinder head LH.

Standard Intake Valve Guide Bush Bore Diameter:

10.285 to 10.306 mm (0.405 to 0.406 in.)

New Guide Bush Selection Chart:

Bush Size

Bush Bore Diameter

STD

10.333 to 10.344 mm (0.40681 to 0.40724 in.)

O/S 0.05

10.383 to 10.394 mm (0.40878 to 0.40921 in.)

HINT:

  • If the intake valve guide bush bore diameter is more than 10.306 mm (0.406 in.), machine the intake valve guide bush bore to a dimension of 10.335 to 10.356 mm (0.407 to 0.408 in.) to install an O/S 0.05 intake valve guide bush.
  • If the intake valve guide bush bore diameter of the cylinder head LH is more than 10.356 mm (0.40772 in.), replace the cylinder head LH.

(e) Heat the cylinder head LH to between 80 and 100°C (176 and 212°F).

(f) Place the cylinder head LH on wooden blocks.

CAUTION:

Be sure to wear protective gloves.

(g) Using SST and a hammer, tap in a new intake valve guide bush to the specified protrusion height.

SST: 09201-10000

09201-01050

SST: 09950-70010

09951-07100

Standard Protrusion Height:

9.30 to 9.70 mm (0.366 to 0.382 in.)

*a

Protrusion Height

*b

Wooden Block

(h) Using a sharp 5.5 mm reamer, ream the intake valve guide bush to obtain the specified oil clearance.

Standard Oil Clearance:

0.025 to 0.060 mm (0.000984 to 0.00236 in.)

2. REPLACE EXHAUST VALVE GUIDE BUSH

(a) Heat the cylinder head LH to between 80 and 100°C (176 and 212°F).

(b) Place the cylinder head LH on wooden blocks.

CAUTION:

Be sure to wear protective gloves.

(c) Using SST and a hammer, tap out the exhaust valve guide bush.

SST: 09201-10000

09201-01050

SST: 09950-70010

09951-07100

*a

Wooden Block

(d) Using a caliper gauge, measure the exhaust valve guide bush bore diameter of the cylinder head LH.

Standard Exhaust Valve Guide Bush Bore Diameter:

10.285 to 10.306 mm (0.405 to 0.406 in.)

New Guide Bush Selection Chart:

Bush Size

Bush Bore Diameter

STD

10.333 to 10.344 mm (0.40681 to 0.40724 in.)

O/S 0.05

10.383 to 10.394 mm (0.40878 to 0.40921 in.)

HINT:

  • If the exhaust valve guide bush bore diameter is more than 10.306 mm (0.406 in.), machine the exhaust valve guide bush bore to a dimension of 10.335 to 10.356 mm (0.407 to 0.408 in.) to install an O/S 0.05 exhaust valve guide bush.
  • If the exhaust valve guide bush bore diameter of the cylinder head LH is more than 10.356 mm (0.40772 in.), replace the cylinder head LH.

(e) Heat the cylinder head LH to between 80 and 100°C (176 and 212°F).

(f) Place the cylinder head LH on wooden blocks.

CAUTION:

Be sure to wear protective gloves.

(g) Using SST and a hammer, tap in a new exhaust valve guide bush to the specified protrusion height.

SST: 09201-10000

09201-01050

SST: 09950-70010

09951-07100

Standard Protrusion Height:

9.30 to 9.70 mm (0.366 to 0.382 in.)

*a

Protrusion Height

*b

Wooden Block

(h) Using a sharp 5.5 mm reamer, ream the exhaust valve guide bush to obtain the specified oil clearance.

Standard Oil Clearance:

0.030 to 0.065 mm (0.00118 to 0.00256 in.)

3. REPLACE RING PIN

NOTICE:

It is not necessary to remove the ring pins unless they are being replaced.

(a) Using a plastic hammer, tap in new ring pins to the cylinder head LH and cylinder head sub-assembly.

*A

for Bank 1

*B

for Bank 2

*C

w/ Ring Pin

-

-

*a

Protrusion Height

-

-

Standard Protrusion Height:

2.5 to 3.5 mm (0.0984 to 0.138 in.)

4. REPLACE STUD BOLT

NOTICE:

If a stud bolt is deformed or its threads are damaged, replace it.

(a) Using E6 and E8 "TORX" socket wrenches, install the stud bolts to the cylinder head LH.

*A

w/ Stud Bolt

-

-

*a

Intake Side

*b

Exhaust Side

*c

Rear Side

*d

20 mm (0.787 in.)

*e

13 mm (0.512 in.)

*f

35 mm (1.38 in.)

*g

16 mm (0.630 in.)

*h

9 mm (0.354 in.)

*i

27 mm (1.06 in.)

*j

26 mm (1.02 in.)

*k

16.7 mm (0.657 in.)

*l

51.7 mm (2.04 in.)

Torque:

Stud Bolt (A), (B) :

10 N·m {102 kgf·cm, 7 ft·lbf}

Stud Bolt (C) :

4.0 N·m {41 kgf·cm, 35 in·lbf}

5. REPLACE STRAIGHT PIN

NOTICE:

If a straight pin is deformed, replace it.

(a) Using a plastic hammer, tap in new straight pins to the cylinder head LH as shown in the illustration.

Standard Protrusion Height:

17.5 to 19.5 mm (0.689 to 0.768 in.)

*a

34 mm (1.34 in.)

*b

Protrusion Height

    Repair
    REPAIR CAUTION / NOTICE / HINT HINT: Use the same procedure for bank 1 and bank 2. The following procedure is for bank 2. PROCEDURE 1. REPAIR INTAKE VALVE SEAT NOTICE: Repair the intake val ...

    Reassembly
    REASSEMBLY CAUTION / NOTICE / HINT HINT: Use the same procedure for bank 1 and bank 2. The following procedure is for bank 2. PROCEDURE 1. INSTALL SPARK PLUG TUBE HINT: When using a new cylind ...

    Other materials:

    Lexus RX (RX 350L, RX450h) 2016-2026 Repair Manual > Rear Combination Light Assembly (w/ Rear No. 2 Seat): Removal
    REMOVAL CAUTION / NOTICE / HINT HINT: Use the same procedure for the RH side and LH side. The following procedure is for the LH side. PROCEDURE 1. REMOVE REAR NO. 2 SEAT ASSEMBLY Click here 2. REMOVE REAR DOOR SCUFF PLATE Click here 3. REMOVE REAR DOOR INSIDE SCUFF PLATE Click here 4. ...

    Lexus RX (RX 350L, RX450h) 2016-2026 Repair Manual > Lighting System (w/ Automatic Headlight Beam Level Control System): CAN Communication Failure (Message Registry) (U1000)
    DESCRIPTION The No. 1 headlight ECU sub-assembly LH stores this DTC if it detects an internal malfunction related to the CAN communication system. for Multiple Beam Headlight DTC No. Detection Item DTC Detection Condition Trouble Area DTC Output from U1000 CAN Communication Failure ...

    Lexus RX (RX 350L, RX450h) 2016-{YEAR} Owners Manual

    Lexus RX (RX 350L, RX450h) 2016-{YEAR} Repair Manual

    © 2026 Copyright www.lexusrx.net
    0.009