Lexus RX (RX 350L, RX450h) 2016-2025 Repair Manual: Disassembly

DISASSEMBLY

CAUTION / NOTICE / HINT

NOTICE:

  • Before installation, thoroughly clean and dry each part and then apply Toyota Genuine Differential gear oil LT SAE 75W-85 GL-5 or equivalent to them.
  • Do not use alkaline cleaner for aluminum or rubber parts and rear differential case bolts.
  • Do not clean rubber parts such as oil seals with non-residue solvent.
  • Use an overhaul stand as necessary.

PROCEDURE

1. SEPARATE ELECTRO MAGNETIC CONTROL COUPLING WIRE HARNESS

(a) Disengage the claw and separate the electro magnetic control coupling wire harness from the 2 clamps.

NOTICE:

Do not damage the electro magnetic control coupling wire harness.

2. REMOVE CONNECTOR BRACKET

(a) Remove the 3 bolts and 2 connector brackets from the rear differential carrier assembly.

*1

Clamp

(b) Remove the 2 clamps from the 2 connector brackets.

3. REMOVE STUD BOLT

*a

Upper Nut

*b

Lower Nut

*c

Turn

*d

Hold

(a) Install 2 service nuts to the stud bolt.

Recommended Service Nut:

Thread Diameter

10 mm (0.394 in.)

Thread Pitch

1.0 mm (0.0394 in.)

(b) Turn the lower nut and remove the other 3 stud bolts in the same way.

NOTICE:

Prevent foreign matter from entering the electro magnetic control coupling sub-assembly.

HINT:

  • Lock the lower nut using the upper nut.
  • If the threads of the electro magnetic control coupling sub-assembly are damaged while removing the stud bolt, replace the electro magnetic control coupling sub-assembly with a new one.

4. REMOVE REAR DIFFERENTIAL FILLER PLUG

(a) Remove the rear differential filler plug and gasket.

5. REMOVE REAR DIFFERENTIAL CARRIER COVER BREATHER PLUG

(a) Using a chisel and hammer, lift the rear differential carrier cover breather plug slightly.

(b) Using a screwdriver, remove the rear differential carrier cover breather plug.

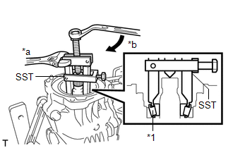
6. INSPECT RUNOUT OF ELECTRO MAGNETIC CONTROL COUPLING SUB-ASSEMBLY

(a) Install a dial indicator and magnetic base perpendicular to the inner side of the electro magnetic control coupling sub-assembly as shown in the illustration.

*a

Vertical Runout

*b

Lateral Runout

(b) Using SST, rotate the electro magnetic control coupling sub-assembly forward and backward, and measure the vertical runout.

SST: 09564-32011

Maximum Runout:

0.06 mm (0.00236 in.)

If the runout is greater than the maximum value, replace the electro magnetic control coupling sub-assembly.

(c) Install a dial indicator and magnetic base perpendicular to the electro magnetic control coupling sub-assembly as shown in the illustration.

(d) Using SST, rotate the electro magnetic control coupling sub-assembly forward and backward, and measure the lateral runout.

SST: 09564-32011

Maximum Runout:

0.07 mm (0.00276 in.)

If the runout is greater than the maximum value, replace the electro magnetic control coupling sub-assembly.

7. REMOVE ELECTRO MAGNETIC CONTROL COUPLING SUB-ASSEMBLY

(a) Remove the 4 bolts.

(b) Using a brass bar and a hammer, lightly tap the electro magnetic control coupling sub-assembly to remove it from the rear differential carrier assembly.

NOTICE:

  • Set the brass bar on the ribbed part of the electro magnetic control coupling sub-assembly.
  • Do not damage the contact surface.

HINT:

Temporarily install 2 bolts by approximately 5 or 6 threads to prevent the electro magnetic control coupling sub-assembly from falling.

8. REMOVE REAR DIFFERENTIAL DUST DEFLECTOR

(a) Put matchmarks on the rear differential dust deflector and electro magnetic control coupling sub-assembly.

*a

Protective Tape

*b

Matchmark

(b) Using a screwdriver, remove the rear differential dust deflector.

NOTICE:

  • Pry around the circumference of the rear differential dust deflector uniformly to prevent deformation.
  • Do not damage the end surface of the electro magnetic control coupling sub-assembly.

HINT:

  • Tape the screwdriver tip before use.
  • If the end surface of the electro magnetic control coupling sub-assembly is damaged while removing the rear differential dust deflector, replace the electro magnetic control coupling sub-assembly with a new one.

9. REMOVE TRANSMISSION COUPLING CONICAL SPRING WASHER

(a) Remove the transmission coupling conical spring washer from the rear differential carrier assembly.

*1

Transmission Coupling Conical Spring Washer

10. REMOVE TRANSMISSION COUPLING SPACER

(a) Remove the transmission coupling spacer from the rear differential carrier assembly.

*1

Transmission Coupling Spacer

11. INSPECT DIFFERENTIAL RING GEAR BACKLASH

(a) Insert a dial indicator and magnetic base through the rear differential filler plug hole, and set it perpendicular to a differential ring gear tooth tip.

(b) Using SST, hold the differential drive pinion in place.

SST: 09556-16011

(c) Using SST, rotate the rear differential case assembly forward and backward, and measure the backlash.

SST: 09564-32011

Backlash:

0.13 to 0.25 mm (0.00512 to 0.00984 in.)

If the backlash is not within the specification, adjust the side bearing preload or repair as necessary.

HINT:

Measure at 3 or more areas on the circumference of the differential ring gear.

12. INSPECT DIFFERENTIAL DRIVE PINION PRELOAD

(a) Using SST and a torque wrench, inspect the differential drive pinion preload (starting torque) of the backlash between the differential drive pinion and differential ring gear.

SST: 09556-16011

Standard Drive Pinion Preload:

1.51 to 2.52 N*m (16 to 25 kgf*cm, 14 to 22 in.*lbf)

If the differential drive pinion preload is not within the specified range, adjust the differential drive pinion preload or repair as necessary.

HINT:

For a more accurate measurement, rotate the rear differential case bearing forward and backward before measuring.

13. INSPECT TOTAL PRELOAD

(a) Using SST and a torque wrench, inspect the total preload (starting torque) with the teeth of the differential drive pinion and differential ring gear in contact.

SST: 09556-16011

Standard Total Preload:

2.80 to 5.34 N*m (29 to 54 kgf*cm, 25 to 47 in.*lbf)

If the total preload is not within the specified range, adjust the total preload or repair as necessary.

HINT:

For a more accurate measurement, rotate the rear differential case bearing forward and backward before measuring.

14. REMOVE REAR DRIVE SHAFT OIL SEAL LH

(a) Using SST, remove the rear drive shaft oil seal LH from the rear differential carrier assembly.

SST: 09308-00010

*1

Rear Drive Shaft Oil Seal LH

15. REMOVE REAR DRIVE SHAFT OIL SEAL RH

HINT:

Use the same procedure for the RH side and LH side.

16. REMOVE DIAPHRAGM OIL SEAL

(a) Using SST, remove the diaphragm oil seal from the rear differential carrier assembly.

SST: 09308-00010

*1

Diaphragm Oil Seal

17. REMOVE REAR DRIVE PINION NUT

(a) Using SST and a hammer, release the staked part of the rear drive pinion nut.

SST: 09930-00010

NOTICE:

  • When using SST, make sure that the flat portion is on the differential drive pinion side.
  • Do not modify the SST tip with a grinder or equivalent.
  • Loosen the staked part of the rear drive pinion nut completely, otherwise the threads of the differential drive pinion may be damaged.

*1

Rear Drive Pinion Nut

(b) Using SST, hold the differential drive pinion in place and remove the rear drive pinion nut from the differential drive pinion.

SST: 09556-16011

SST: 09564-16020

*a

Turn

*b

Hold

18. REMOVE REAR DRIVE PINION FRONT TAPERED ROLLER BEARING

(a) Using SST, remove the rear drive pinion front tapered roller bearing (inner race) from the differential drive pinion.

SST: 09556-40010

*1

Rear Drive Pinion Front Tapered Roller Bearing (Inner Race)

*a

Hold

*b

Turn

19. REMOVE DIFFERENTIAL SIDE BEARING RETAINER

(a) Remove the 10 bolts from the rear differential carrier.

(b) Using a brass bar and a hammer, disengage the 2 pins and remove the differential side bearing retainer from the rear differential carrier.

NOTICE:

  • Set the brass bar on the ribbed part of the differential side bearing retainer.
  • Do not damage the contact surface.

HINT:

Temporarily install 2 bolts by approximately 5 or 6 threads to prevent the differential side bearing retainer from falling.

20. REMOVE REAR DIFFERENTIAL CASE ASSEMBLY

(a) Remove the rear differential case assembly from the rear differential carrier.

21. REMOVE DIFFERENTIAL DRIVE PINION

(a) Remove the differential drive pinion from the rear differential carrier.

22. REMOVE REAR DIFFERENTIAL DRIVE PINION OIL SLINGER

(a) Remove the rear differential drive pinion oil slinger from the differential drive pinion.

23. REMOVE REAR DIFFERENTIAL DRIVE PINION BEARING SPACER

(a) Remove the rear differential drive pinion bearing spacer from the differential drive pinion.

24. REMOVE REAR DRIVE PINION REAR TAPERED ROLLER BEARING

(a) Using SST and a press, press out the rear drive pinion rear tapered roller bearing (inner race) from the differential drive pinion.

SST: 09950-00020

NOTICE:

Do not drop the differential drive pinion.

HINT:

If the differential driver pinion or differential ring gear is damaged, replace them both.

(b) Remove the rear differential drive pinion plate washer.

25. REMOVE REAR DRIVE PINION FRONT TAPERED ROLLER BEARING

(a) Using SST, remove the rear drive pinion front tapered roller bearing (outer race) from the rear differential carrier.

SST: 09387-00041

09387-01030

09387-01041

SST: 09387-02020

*1

Rear Drive Pinion Front Tapered Roller Bearing (Outer Race)

*a

Hold

*b

Turn

26. REMOVE REAR DRIVE PINION REAR TAPERED ROLLER BEARING

(a) Using a brass bar and a hammer, lightly and uniformly tap out the rear drive pinion rear tapered roller bearing (outer race) from the rear differential carrier.

NOTICE:

Set the brass bar on the notch.

27. REMOVE REAR DIFFERENTIAL CASE BEARING (for LH Side)

(a) Using SST and a press, remove the rear differential case bearing (LH side outer race) and rear differential side gear shaft plate washer from the differential side bearing retainer.

SST: 09950-60010

09951-00540

SST: 09950-70010

09951-07100

*1

Rear Differential Case Bearing (Outer Race)

*2

Rear Differential Side Gear Shaft Plate Washer

28. REMOVE REAR DIFFERENTIAL CASE BEARING (for RH Side)

(a) Using SST and a press, remove the rear differential case bearing (RH side outer race) and rear differential side gear shaft plate washer from the rear differential carrier.

SST: 09950-60010

09951-00590

SST: 09950-70010

09951-07100

*1

Rear Differential Case Bearing (Outer Race)

*2

Rear Differential Side Gear Shaft Plate Washer

29. REMOVE REAR DIFFERENTIAL CASE BEARING (for LH Side)

HINT:

Perform this step only when replacing the rear differential case bearing or rear differential case sub-assembly.

(a) Using SST, remove the rear differential case bearing (LH side inner race) from the rear differential case sub-assembly.

SST: 09950-40011

09951-04020

09952-04010

09953-04020

09954-04010

09955-04011

09957-04010

09958-04011

SST: 09950-60010

09951-00340

NOTICE:

Before using the SST center bolt (09953-04020), apply grease to its threads and tip.

HINT:

  • If the race remains on the rear differential case sub-assembly, repeat the step above to remove the race.
  • If the rear differential case bearing (LH side inner race) is deformed, replace it with a new one.

*1

Rear Differential Case Bearing (LH Side Inner Race)

*a

Hold

*b

Turn

30. REMOVE REAR DIFFERENTIAL CASE BEARING (for RH Side)

HINT:

Perform this step only when replacing the rear differential case bearing or rear differential case sub-assembly.

(a) Using SST, remove the rear differential case bearing (RH side inner race) from the rear differential case sub-assembly.

SST: 09950-40011

09951-04020

09952-04010

09953-04020

09954-04010

09955-04061

09957-04010

09958-04011

SST: 09950-60010

09951-00370

NOTICE:

Before using the SST center bolt (09953-04020), apply grease to its threads and tip.

HINT:

  • If the race remains on the rear differential case sub-assembly, repeat the step above to remove the race.
  • If the rear differential case bearing (RH side inner race) is deformed, replace it with a new one.

*1

Rear Differential Case Bearing (RH Side Inner Race)

*a

Hold

*b

Turn

31. REMOVE DIFFERENTIAL RING GEAR

(a) Secure the rear differential case sub-assembly in a vise between aluminum plates.

NOTICE:

Do not overtighten the vise.

*a

Matchmark

(b) Put matchmarks on the rear differential case sub-assembly and differential ring gear.

(c) Remove the 12 rear differential case bolts.

(d) Using a plastic hammer, lightly and uniformly tap the outer circumference of the differential ring gear to remove it from the rear differential case sub-assembly.

NOTICE:

  • Be careful not to damage the edges of the differential ring gear.
  • Do not drop the differential ring gear.

HINT:

  • Place a cloth on the teeth side of the differential ring gear to prevent damage.
  • If it is difficult to remove, tap the outer circumference of the differential ring gear using a brass bar and a hammer.
  • If the differential drive pinion or differential ring gear is damaged, replace them both.

32. REMOVE REAR DIFFERENTIAL BREATHER PLUG OIL DEFLECTOR

(a) Remove the 2 bolts and rear differential breather plug oil deflector from the rear differential carrier.

33. REMOVE STRAIGHT PIN

(a) Remove the 4 straight pins from the rear differential carrier.

34. INSPECT DIFFERENTIAL PINION AND SIDE GEAR

(a) Check the differential pinion gears and differential side gears for wear.

If the differential pinion gears and differential side gears are damaged, replace the rear differential case sub-assembly.

35. INSPECT DIFFERENTIAL CASE

(a) Check the differential case for cracks or damage.

If the differential case is damaged, replace the rear differential case sub-assembly.

    Removal
    REMOVAL CAUTION / NOTICE / HINT The necessary procedures (adjustment, calibration, initialization, or registration) that must be performed after parts are removed and installed, or replaced during rea ...

    Installation
    INSTALLATION CAUTION / NOTICE / HINT CAUTION: The rear differential carrier assembly with differential support is very heavy. Be sure to follow the procedure described in the repair manual, or the eng ...

    Other materials:

    Lexus RX (RX 350L, RX450h) 2016-2025 Repair Manual > Power Back Door System (w/ Outside Door Control Switch): Terminals Of Ecu
    TERMINALS OF ECU CHECK MULTIPLEX NETWORK DOOR ECU (a) Disconnect the Z16 and Z17 multiplex network door ECU connectors. (b) Measure the voltage and resistance according to the value(s) in the table below. HINT: Measure the values on the wire harness side with the connector disconnected. Terminal ...

    Lexus RX (RX 350L, RX450h) 2016-2025 Repair Manual > Audio And Visual System (for 8 Inch Display): USB Device Malfunction (B1585)
    DESCRIPTION This DTC is stored when a malfunction occurs in a connected device. DTC No. Detection Item DTC Detection Condition Trouble Area B1585 USB Device Malfunction When any of the following conditions is met: A non mass-storage class or incompatible protocol USB device is co ...

    Lexus RX (RX 350L, RX450h) 2016-{YEAR} Owners Manual

    Lexus RX (RX 350L, RX450h) 2016-{YEAR} Repair Manual

    © 2025 Copyright www.lexusrx.net
    0.0109