Lexus RX (RX 350L, RX450h) 2016-2026 Repair Manual: Speed Signal Malfunction (B15C2)

DESCRIPTION

The navigation ECU receives a vehicle speed signal from the combination meter assembly and information from the navigation antenna, and then adjusts the vehicle position.

The navigation ECU stores this DTC when the difference between the speed information that the navigation antenna assembly receives and the SPD pulse received from the combination meter assembly becomes large.

HINT:

  • A voltage of 12 V or 5 V is output from each ECU and then input to the combination meter assembly. The signal is changed to a pulse signal at the transistor in the combination meter assembly. Each ECU controls its respective system based on this pulse signal.
  • If a short occurs in any of the ECUs or in the wire harness connected to an ECU, all systems in the following diagram will not operate normally.

DTC No.

Detection Item

DTC Detection Condition

Trouble Area

B15C2

Speed Signal Malfunction

A difference between the GPS speed and SPD pulse is detected

  • Meter / gauge system
  • Navigation ECU
  • Radio receiver assembly
  • Harness or connector

WIRING DIAGRAM

CAUTION / NOTICE / HINT

NOTICE:

Depending on the parts that are replaced during vehicle inspection or maintenance, performing initialization, registration or calibration may be needed. Refer to Precaution for Audio and Visual System.

Click here

PROCEDURE

1.

CHECK DTC

(a) Clear the DTCs.

Body Electrical > Navigation System > Clear DTCs

(b) Recheck for DTCs and check that no DTCs are output.

Body Electrical > Navigation System > Trouble Codes

OK:

No DTCs are output.

OK

USE SIMULATION METHOD TO CHECK

NG

2.

CHECK VEHICLE SENSOR (OPERATION CHECK)

(a) Enter the "System Sensors Check" screen. Refer to Check GPS & Vehicle Sensors in Operation Check.

Click here

*a

Example

(b) While driving the vehicle, compare the "Speed" indicator to the reading on the speedometer. Check if these readings are almost equal.

HINT:

The combination meter assembly receives the vehicle speed signal from the skid control ECU via CAN communication. Therefore, perform the following procedure inspection referring to values in the Data List of the skid control ECU because it is the source of the vehicle speed signal.

OK:

Vehicle speed displayed on the "System Sensors Check" screen is almost the same as the actual vehicle speed measured using the Techstream.

Click here

OK

GO TO STEP 5

NG

3.

CHECK COMBINATION METER ASSEMBLY (OUTPUT WAVEFORM)

(a) Check the output waveform.

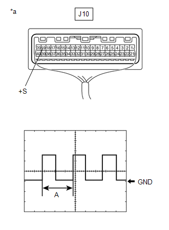
(1) Remove the combination meter assembly with the connector(s) still connected.

(2) Connect an oscilloscope to terminal J10-19 (+S) and body ground.

(3) Turn the engine switch on (IG).

(4) Turn a wheel slowly.

(5) Check the signal waveform according to the condition(s) in the table below.

Item

Condition

Measurement terminal

J10-19 (+S) - Body ground

Tool setting

5 V/DIV., 20 ms./DIV.

Vehicle condition

Wheel being rotated

OK:

The waveform is similar to that shown in the illustration.

HINT:

When the system is functioning normally, one wheel revolution generates 4 pulses. As the vehicle speed increases, the width indicated by (A) in the illustration narrows.

*a

Component with harness connected

(Combination Meter Assembly)

NG

GO TO METER / GAUGE SYSTEM

OK

4.

CHECK NAVIGATION ECU (INPUT WAVEFORM)

(a) Check the input waveform.

(1) Remove the navigation ECU with the connector(s) still connected.

(2) Connect an oscilloscope to terminal J153-9 (SPD) and body ground.

(3) Turn the engine switch on (IG).

(4) Turn a wheel slowly.

(5) Check the signal waveform according to the condition(s) in the table below.

Item

Condition

Measurement terminal

J153-9 (SPD) - Body ground

Tool setting

5 V/DIV., 20 ms./DIV.

Vehicle condition

Wheel being rotated

OK:

The waveform is similar to that shown in the illustration.

HINT:

When the system is functioning normally, one wheel revolution generates 4 pulses. As the vehicle speed increases, the width indicated by (A) in the illustration narrows.

*a

Component with harness connected

(Navigation ECU)

NG

REPAIR OR REPLACE HARNESS OR CONNECTOR

OK

5.

REPLACE NAVIGATION ECU

(a) Replace the navigation ECU with a new or known good one.

Click here

NEXT

6.

CHECK DTC

(a) Clear the DTCs.

Body Electrical > Navigation System > Clear DTCs

(b) Recheck for DTCs and check that no DTCs are output.

Body Electrical > Navigation System > Trouble Codes

OK:

No DTCs are output.

OK

END (NAVIGATION ECU IS DEFECTIVE)

NG

REPLACE RADIO RECEIVER ASSEMBLY

    GPS Antenna Connection Malfunction(short) (B15C0,B15C1)
    DESCRIPTION These DTCs are stored when a malfunction occurs in the navigation antenna assembly. DTC No. Detection Item DTC Detection Condition Trouble Area B15C0 GPS Antenna Connection ...

    Speaker Output Short (B15C3)
    DESCRIPTION This DTC is stored when a malfunction occurs in the speakers. DTC No. Detection Item DTC Detection Condition Trouble Area B15C3 Speaker Output Short A short is detected in ...

    Other materials:

    Lexus RX (RX 350L, RX450h) 2016-2026 Repair Manual > Vehicle Stability Control System: Left Rear Wheel Speed Sensor Circuit Short to Ground or Open (C050C14)
    DESCRIPTION Refer to DTC C050C1F. Click here DTC No. Detection Item DTC Detection Condition Trouble Area C050C14 Left Rear Wheel Speed Sensor Circuit Short to Ground or Open An open in the speed sensor signal circuit continues for 0.5 seconds or more. Rear speed sensor LH*1 ...

    Lexus RX (RX 350L, RX450h) 2016-2026 Repair Manual > Lighting (int): Luggage Compartment Room Light
    ComponentsCOMPONENTS ILLUSTRATION *A for Back Door *B for RH Side *C for LH Side - - *1 NO. 1 LUGGAGE COMPARTMENT LIGHT ASSEMBLY - - InspectionINSPECTION PROCEDURE 1. INSPECT NO. 1 LUGGAGE COMPARTMENT LIGHT ASSEMBLY (a) Inspect the luggage compartment room light. ...

    Lexus RX (RX 350L, RX450h) 2016-{YEAR} Owners Manual

    Lexus RX (RX 350L, RX450h) 2016-{YEAR} Repair Manual

    © 2026 Copyright www.lexusrx.net
    0.0119